「內事問百度,外事問谷歌,X 事問天涯」最終還是......
發布日期:2023-04-29 訪問次數:
「內事問百度,外事問谷歌,X 事問天涯」
知道這個梗的,大概率是老網民了
雖說這只是一種戲謔的說法,但也能從側面看出來,天涯社區在網民心中的地位。
彼時,各地的網友聚集在天涯,討論著各種各樣的話題,成了一代人的青春記憶。
但就在最近,有消息傳出天涯「掛」了。
從 4 月 25 日開始,天涯社區官網和 App 已經無法打開,均顯示「頁面無法訪問」。
據網友爆料,目前天涯社區已經拖欠電信十幾年的服務器費用,金額高達一千多萬元。
而且據了解,天涯的域名其實已經在 3 月底被封,4 月 24 日才正式停止運營。
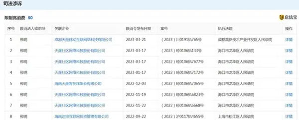
與此同時,據風險信息顯示,天涯目前累計被執行金額已超 4.6 億元,相關法人和創始人已經被限制高消費。
從這一系列信息可以看出來,天涯目前已經陷入了經營危機,基本等同于休克。
值得一提的,4 月 1 號天涯社區還曾發布公告稱,因技術升級和數據重構,在此期間天涯社區將無法訪問。
沒想到過了 20 多天,迎接網友的是天涯徹底「無法訪問」的事實。
不少網友聽說后,紛紛跑到官微下面悼念。
當然,目前還不能正式宣判天涯「死刑」,因為人家官微給了這么一句話,「我一定會回來的」。
即便如此,天涯的未來仍然不樂觀。
早在去年底,就有消息傳出天涯關停的消息,彼時各個板塊都凍結在了 11 月 22 日 18 時,而且關閉了發帖功能。
如今再次陷入危機,不免讓人對天涯的命運捏了一把汗。
說到這里,可能不少同學還沒逛過天涯社區。
天涯社區創立于 1999 年,和 QQ 同一年誕生,是知名的內容創作與知識分享社交平臺,曾頗具影響力。
據天涯披露的數據,2003 年天涯已坐擁 300 萬用戶,日訪問量 2000 萬左右,彼時中文互聯網民僅 7950 萬人。
而到了 2013 年,其用戶注冊量已經達到了 8500 萬,彼時中文互聯網民為 6 億。
也就是說,當時每七個網民中就有一個是天涯用戶。
曾經的天涯,可以說是中文互聯網一手資訊、小說等優秀作品、奇人奇事的第一發源地。
像《明朝那些事兒》、《鬼吹燈》等,最早就是開始在天涯進行連載的。
再像 kk 大神關于 20 年后房價的預言、以及股民圣經的《纏中說禪》等一眾傳奇作品,都是天涯最好的注腳。
雖然它們以帖子的方式存在,但其中的邏輯以及附帶的系統性思考過程,讓人看了無不頂禮膜拜。
直到如今,雖然天涯早已經落寞,但其中的優秀作品如今仍然流傳于網絡。
如今在某魚、某寶上,依然有人將天涯神貼打包出售,可見天涯當時內容的含金量。
不過,也正是從 2013 年達到巔峰以后,伴隨著微博、知乎、豆瓣等一眾新興平臺的崛起,天涯逐漸開始落寞。
縱使再輝煌,即使天涯還能茍延殘喘,但也已經成了過去式。
而伴隨著天涯的命運未卜,以前那個純粹的、主打免費和分享的時代,已經一去不復返了。
如今,和天涯同一時代的貓撲、榕樹下、人人、鐵血等論壇陸續關停,令人惋惜。
只能說,時代變化得太快了!

掃描添加好友
免費提供:網站建設、網絡推廣解決方案
已幫助
人
人
您的鼓勵是站長的最大動力
標簽:天涯
轉載請注明來自:http://m.xiyuled.com/news/3002.html















